Transformatory są wszechobecne w naszym życiu, od ładowarek do telefonów po olbrzymie stacje energetyczne. Często jednak ich praca wiąże się z charakterystycznym buczeniem, które może intrygować, a czasem nawet niepokoić. W tym artykule, jako Igor Lis, wyjaśnię Państwu, jak te fascynujące urządzenia działają i dlaczego wydają z siebie ten specyficzny dźwięk, rozwiewając wszelkie wątpliwości.
Transformator działa dzięki indukcji elektromagnetycznej, a jego buczenie to głównie efekt magnetostrykcji
- Transformatory działają na zasadzie indukcji elektromagnetycznej, zamieniając zmienny prąd w uzwojeniu pierwotnym na zmienny prąd w uzwojeniu wtórnym za pośrednictwem stalowego rdzenia.
- Główną przyczyną charakterystycznego buczenia jest zjawisko magnetostrykcji, czyli cykliczne zmiany wymiarów rdzenia pod wpływem pola magnetycznego.
- Wibracje rdzenia występują z częstotliwością 100 Hz (i jej harmonicznych) w sieciach 50 Hz, co jest odbierane jako buczenie.
- Inne źródła hałasu to drgania uzwojeń (szczególnie pod obciążeniem), systemy chłodzenia (wentylatory, pompy w dużych transformatorach) oraz poluzowane elementy konstrukcyjne.
- Standardowe buczenie jest normalnym objawem pracy, ale nagły wzrost głośności lub zmiana charakteru dźwięku może sygnalizować awarię.
- Poziom hałasu transformatorów jest regulowany przez polskie normy, takie jak PN-EN 60076-10.
Jak działa transformator, czyli o "magicznej" zmianie napięcia
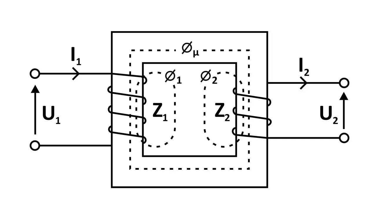
Transformator to urządzenie elektryczne, które umożliwia zmianę napięcia i prądu przemiennego bez znaczących strat mocy. To właśnie dzięki niemu energia elektryczna może być przesyłana na duże odległości pod wysokim napięciem, a następnie bezpiecznie obniżana do poziomu używanego w naszych domach i zakładach pracy. Bez transformatorów współczesna energetyka i codzienne życie, jakie znamy, byłyby niemożliwe. Od małych zasilaczy do laptopów po gigantyczne transformatory mocy w elektrowniach ich rola jest absolutnie kluczowa.

Podstawą konstrukcji każdego transformatora są dwa kluczowe elementy: rdzeń ferromagnetyczny oraz dwa uzwojenia pierwotne i wtórne. Rdzeń, zazwyczaj wykonany ze specjalnych blach stalowych krzemowych (elektrotechnicznych), ma za zadanie koncentrować i prowadzić strumień pola magnetycznego. Uzwojenia to po prostu cewki z drutu miedzianego lub aluminiowego, nawinięte wokół rdzenia. Uzwojenie pierwotne jest podłączone do źródła prądu zmiennego, natomiast uzwojenie wtórne dostarcza zmienny prąd odbiornikowi.
Zasada działania transformatora opiera się na fascynującym zjawisku indukcji elektromagnetycznej, odkrytej przez Michaela Faradaya. To prawdziwa magia fizyki, która pozwala na "przeniesienie" energii bez bezpośredniego połączenia elektrycznego między uzwojeniami. Spójrzmy, jak to działa krok po kroku:
- Prąd zmienny w uzwojeniu pierwotnym: Kiedy do uzwojenia pierwotnego doprowadzamy zmienny prąd elektryczny (np. z gniazdka), zaczyna on generować wokół siebie zmienne pole magnetyczne.
- Wytworzenie zmiennego strumienia magnetycznego w rdzeniu: Rdzeń ferromagnetyczny, dzięki swoim właściwościom, "zbiera" to zmienne pole magnetyczne i koncentruje je, tworząc w sobie zmienny strumień magnetyczny. Ten strumień przenika przez całą objętość rdzenia.
- Indukcja napięcia w uzwojeniu wtórnym: Ponieważ strumień magnetyczny w rdzeniu jest zmienny, zgodnie z prawem Faradaya, indukuje on siłę elektromotoryczną (czyli napięcie) w uzwojeniu wtórnym, które jest nawinięte na tym samym rdzeniu.
- Przepływ prądu w uzwojeniu wtórnym: Jeśli do uzwojenia wtórnego podłączymy odbiornik (np. żarówkę), popłynie przez nie zmienny prąd, dostarczając energię.
Liczba zwojów w uzwojeniu pierwotnym i wtórnym decyduje o tym, czy transformator podwyższa, czy obniża napięcie. To właśnie ta prostota i elegancja działania sprawiają, że transformatory są tak niezawodne i efektywne w przekształcaniu energii elektrycznej.
Główny winowajca buczenia: poznaj zjawisko magnetostrykcji
Przejdźmy teraz do sedna sprawy, czyli do tego, co sprawia, że transformatory buczą. Głównym i najbardziej fundamentalnym źródłem tego dźwięku jest zjawisko zwane magnetostrykcją. Jest to właściwość materiałów ferromagnetycznych, takich jak stal używana w rdzeniach transformatorów, polegająca na zmianie ich wymiarów pod wpływem pola magnetycznego. Mówiąc prościej, rdzeń transformatora dosłownie kurczy się i rozszerza, gdy przepływa przez niego zmienny strumień magnetyczny. Wyobraźmy sobie, że materiał rdzenia "oddycha" w rytm zmian pola.
W sieciach energetycznych w Europie prąd zmienny ma częstotliwość 50 Hz. Oznacza to, że pole magnetyczne w rdzeniu zmienia swoją polaryzację 50 razy na sekundę. Jednak rdzeń kurczy się i rozszerza niezależnie od kierunku pola, reagując na jego natężenie. W efekcie, rdzeń transformatora drga z częstotliwością dwukrotnie większą niż częstotliwość prądu, czyli 100 Hz. Te mechaniczne wibracje rdzenia, przenoszone na obudowę transformatora i otaczające powietrze, są tym, co nasze ucho odbiera jako charakterystyczne, niskie buczenie. Często słyszymy również harmoniczne tej podstawowej częstotliwości, co nadaje buczeniu jego specyficzny "kolor" dźwięku.
Producenci transformatorów doskonale zdają sobie sprawę z problemu magnetostrykcji i podejmują kroki w celu minimalizacji generowanego hałasu. Kluczowym elementem jest stosowanie wysokiej jakości blach stalowych krzemowych (elektrotechnicznych), które charakteryzują się możliwie najniższą magnetostrykcją. Dodatkowo, rdzenie są często specjalnie prasowane i impregnowane żywicami, aby zmniejszyć swobodę drgań poszczególnych blach. Niestety, całkowita eliminacja zjawiska magnetostrykcji jest fizycznie niemożliwa, ponieważ jest to inherentna właściwość materiałów ferromagnetycznych. Możemy jedynie dążyć do jej ograniczenia, co jest ciągłym wyzwaniem w inżynierii transformatorów.
Inne, ukryte źródła hałasu transformatora
Chociaż magnetostrykcja jest głównym sprawcą buczenia, transformatory mogą generować hałas również z innych powodów. Jednym z nich są drgania uzwojeń. Kiedy przez uzwojenia przepływa prąd, powstają siły elektrodynamiczne (zwane siłami Lorentza), które działają na przewody. Siły te są szczególnie wyraźne przy dużym obciążeniu transformatora i mogą powodować, że uzwojenia zaczynają wibrować. Jeśli uzwojenia nie są odpowiednio sztywne lub są poluzowane, ich drgania mogą być słyszalne i przyczyniać się do ogólnego poziomu hałasu, często z wyższymi częstotliwościami niż buczenie rdzenia.

W przypadku dużych transformatorów olejowych, które często spotykamy w energetyce, znaczącym, a czasem nawet dominującym źródłem hałasu są systemy chłodzenia. Aby utrzymać odpowiednią temperaturę pracy, transformatory te wykorzystują pompy do cyrkulacji oleju izolacyjnego oraz wentylatory do chłodzenia radiatorów. Zarówno pracujące pompy, jak i wentylatory generują własny hałas mechaniczny. Co ważne, ten typ hałasu jest w dużej mierze niezależny od obciążenia transformatora wentylatory i pompy pracują, gdy temperatura osiągnie określony poziom, niezależnie od tego, ile mocy transformator w danej chwili przetwarza.
Nie można również zapominać o prozaicznej, ale często występującej przyczynie: poluzowanych elementach konstrukcyjnych. Śruby, zaciski, elementy mocujące rdzeń, a nawet panele obudowy, jeśli nie są odpowiednio dokręcone lub z czasem uległy poluzowaniu, mogą wchodzić w rezonans z wibracjami rdzenia lub uzwojeń. Takie luźne części mogą wzmacniać dźwięk, zmieniać jego charakter na bardziej metaliczny lub grzechoczący, a także potęgować irytujące buczenie. Regularne przeglądy i konserwacja są kluczowe, aby zapobiegać tego typu problemom.
Czy buczenie transformatora zawsze jest normalne? Kiedy się martwić
Z mojego doświadczenia wiem, że wielu ludzi zastanawia się, czy buczenie transformatora jest normalnym zjawiskiem, czy też sygnałem ostrzegawczym. Jak już wyjaśniłem, pewien poziom buczenia jest nieodłączną cechą pracy transformatora ze względu na magnetostrykcję. Jednak kluczowe jest rozróżnienie między normalnym, akceptowalnym dźwiękiem a sygnałami, które mogą wskazywać na problem. Poniżej przedstawiam porównanie:
-
Normalne buczenie:
- Jest stałe, o niskiej częstotliwości, przypominające głęboki szum.
- Jego głośność jest względnie stała i nie zmienia się drastycznie.
- Jest zgodne z poziomem hałasu deklarowanym przez producenta.
-
Niepokojące dźwięki:
- Nagły wzrost głośności: Jeśli transformator nagle zaczyna buczeć znacznie głośniej niż zwykle.
- Zmiana charakteru dźwięku: Pojawienie się trzasków, stuków, nieregularnych buczeń, piszczenia, czy dźwięków przypominających "grzechotanie".
- Nieregularne buczenie: Dźwięk, który pojawia się i zanika, lub zmienia swoją intensywność w sposób nieprzewidywalny.
- Pisk lub wysokie tony: Mogą wskazywać na wyładowania elektryczne lub inne poważne problemy.
Nagły wzrost głośności lub zmiana charakteru dźwięku to sygnał, którego nie należy ignorować. Może to oznaczać na przykład poluzowanie rdzenia, co prowadzi do silniejszych wibracji. Inne potencjalne problemy to uszkodzenia uzwojeń, częściowe wyładowania elektryczne w izolacji, a nawet zanieczyszczenia w oleju izolacyjnym, które mogą prowadzić do lokalnych przegrzań. W takich sytuacjach zawsze zalecam natychmiastowe skontaktowanie się z wykwalifikowanym serwisem lub operatorem sieci energetycznej. Ignorowanie takich sygnałów może prowadzić do poważnej awarii, a nawet zagrożenia bezpieczeństwa.
W Polsce, podobnie jak w innych krajach, dopuszczalny poziom hałasu emitowanego przez transformatory jest ściśle regulowany przez normy. Jedną z kluczowych jest PN-EN 60076-10, która określa metody pomiaru hałasu i jego dopuszczalne wartości. Poziom hałasu zależy przede wszystkim od mocy znamionowej transformatora im większa moc, tym zazwyczaj głośniejsza praca. Producent transformatora zawsze podaje w dokumentacji technicznej jego deklarowany poziom hałasu, wyrażony w decybelach (dB(A)). Dla przykładu, typowy transformator o mocy 1 MVA może generować hałas na poziomie około 60-70 dB(A), co jest porównywalne z głośną rozmową lub pracą odkurzacza. Wartości te są brane pod uwagę przy planowaniu lokalizacji transformatorów, zwłaszcza w pobliżu terenów mieszkalnych, aby minimalizować uciążliwość dla otoczenia.
