Zastanawialiście się kiedyś, dlaczego w domowych gniazdkach płynie prąd zmienny (AC), a nie stały (DC)? To pytanie, choć wydaje się proste, dotyka fundamentalnych zasad inżynierii elektrycznej i historycznych decyzji, które ukształtowały współczesną energetykę. Rozwiejmy tę zagadkę, skupiając się na efektywności przesyłu energii i fascynującej "wojnie prądów", która zadecydowała o obecnym standardzie.
Prąd zmienny w gniazdku: klucz do efektywnego przesyłu energii na duże odległości
- Łatwa transformacja napięcia: Prąd zmienny pozwala na prostą i wydajną zmianę napięcia za pomocą transformatorów, co jest niemożliwe dla prądu stałego bez skomplikowanych przetwornic.
- Minimalizacja strat przesyłowych: Dzięki możliwości podnoszenia napięcia do bardzo wysokich wartości, prąd zmienny może być przesyłany na setki kilometrów z minimalnymi stratami mocy.
- Historyczne zwycięstwo: System prądu zmiennego, promowany przez Nikolę Teslę, zwyciężył w "wojnie prądów" z systemem prądu stałego Thomasa Edisona, stając się globalnym standardem.
- Ekonomika i niezawodność: Rozwiązania oparte na AC okazały się tańsze w budowie i eksploatacji, a silniki indukcyjne na prąd zmienny są proste i niezawodne.
Zacznijmy od podstaw. Prąd stały (DC Direct Current) to taki, w którym elektrony płyną zawsze w jednym, niezmiennym kierunku. Wyobraźcie sobie rzekę płynącą jednostajnie w dół tak właśnie działa prąd stały. Typowymi źródłami są baterie, akumulatory w samochodach czy panele fotowoltaiczne, które generują energię w ten właśnie sposób.
Z kolei prąd zmienny (AC Alternating Current) to zupełnie inna historia. Tutaj kierunek przepływu elektronów cyklicznie się zmienia. W Polsce dzieje się to 50 razy na sekundę, dlatego mówimy o częstotliwości 50 Hz. To tak, jakby rzeka co ułamek sekundy zmieniała kierunek swojego nurtu. Właśnie taki prąd mamy w naszych domowych gniazdkach, o standardowym napięciu 230V.
Kluczowa różnica między prądem stałym a zmiennym, która zadecydowała o ich rolach w energetyce, leży w sposobie, w jaki radzą sobie z wyzwaniem efektywnego przesyłania energii elektrycznej na duże odległości. To, jak zminimalizować straty podczas transportu, ma bezpośrednie przełożenie na koszty, efektywność energetyczną i w ostatecznym rozrachunku na to, czy prąd w ogóle dotrze do naszych domów.
Aby w pełni zrozumieć, dlaczego prąd zmienny dominuje w naszych sieciach, musimy cofnąć się do końca XIX wieku. Wówczas to rozegrała się prawdziwa "wojna prądów" epicka rywalizacja między dwoma wizjonerami, Thomasem Edisonem i Nikolą Teslą, która na zawsze ukształtowała światową energetykę. To był moment, w którym ważyły się losy, jaki system zasilania będzie napędzał przyszłość.

System Edisona: ograniczenia prądu stałego
Thomas Edison, geniusz i wynalazca żarówki, był zagorzałym zwolennikiem systemu opartego na prądzie stałym. Jego wizja zakładała budowę małych, lokalnych elektrowni, rozmieszczonych co kilka kilometrów. Dlaczego? Otóż prąd stały o niskim napięciu, który generowały jego elektrownie, nie mógł być efektywnie przesyłany na większe odległości. Straty energii w liniach przesyłowych były ogromne, co sprawiało, że im dalej od elektrowni, tym mniej prądu docierało do odbiorców. Co więcej, w tamtych czasach nie istniały proste i efektywne sposoby na zmianę napięcia prądu stałego, co dodatkowo ograniczało jego zastosowanie.
Rewolucja Tesli: siła prądu zmiennego
Na przeciwległym biegunie stał Nikola Tesla, wspierany przez George'a Westinghouse'a. Tesla opracował system oparty na prądzie zmiennym, który oferował jedną, ale za to rewolucyjną zaletę: możliwość łatwej i bardzo wydajnej transformacji napięcia. Dzięki temu można było budować duże, scentralizowane elektrownie, a następnie podnosić napięcie prądu do bardzo wysokich wartości, przesyłając go na setki kilometrów z minimalnymi stratami. U odbiorców napięcie było ponownie obniżane do bezpiecznego i użytecznego poziomu. To była prawdziwa zmiana paradygmatu.
Zwycięstwo prądu zmiennego
Ostatecznie system Tesli zwyciężył w "wojnie prądów". Kluczowymi momentami, które przypieczętowały jego triumf, było oświetlenie Wystawy Światowej w Chicago w 1893 roku oraz budowa potężnej elektrowni wodnej na Niagarze, która zasilała Buffalo. Te projekty udowodniły wyższość i praktyczność prądu zmiennego. Edison, próbując zdyskredytować konkurenta, uciekał się nawet do drastycznych metod, publicznie rażąc prądem zmiennym zwierzęta, aby udowodnić jego rzekomą śmiertelność. Pomógł również w opracowaniu krzesła elektrycznego zasilanego prądem AC, co miało wzmocnić jego negatywny wizerunek.
Edison, próbując zdyskredytować prąd zmienny, publicznie raził nim zwierzęta, aby udowodnić, że jest on bardziej niebezpieczny. Pomógł również w opracowaniu krzesła elektrycznego zasilanego prądem AC.

Transformatory: serce efektywnego przesyłu energii
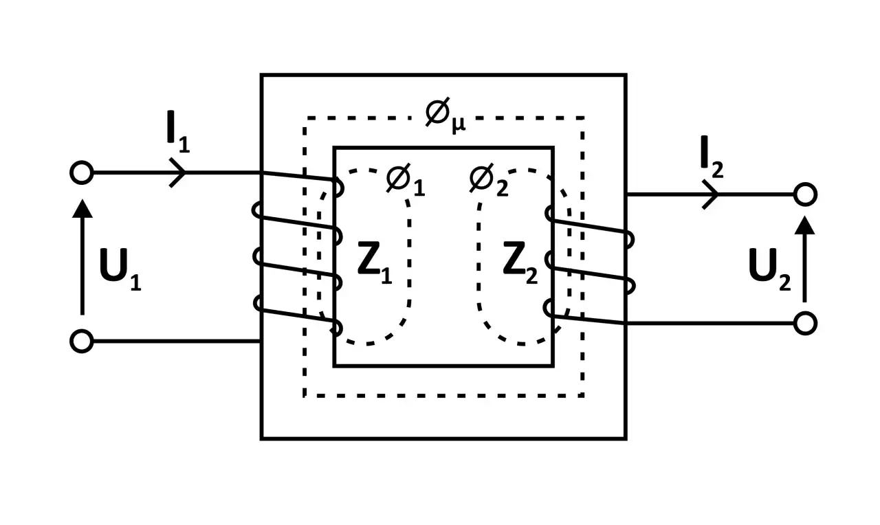
Wspomniałem o transformacji napięcia jako kluczowej zalecie prądu zmiennego. To właśnie transformatory są sercem całego systemu przesyłu energii, umożliwiając nam korzystanie z prądu w domach, mimo że źródło jego wytwarzania może znajdować się setki kilometrów dalej. Bez nich współczesna sieć energetyczna byłaby niemożliwa do zbudowania.
Jak działa transformator i dlaczego potrzebuje AC?
Zasada działania transformatora jest genialna w swojej prostocie i opiera się na zjawisku indukcji elektromagnetycznej. Mówiąc najprościej, transformator składa się z dwóch cewek nawiniętych wokół wspólnego rdzenia ferromagnetycznego. Kiedy prąd zmienny płynie przez pierwszą cewkę (nazywaną uzwojeniem pierwotnym), wytwarza zmienne pole magnetyczne. To zmienne pole magnetyczne indukuje (czyli wytwarza) prąd w drugiej cewce (uzwojeniu wtórnym). Kluczowe jest słowo "zmienne" tylko zmienne pole magnetyczne może indukować prąd. Prąd stały nie generuje zmiennego pola magnetycznego, dlatego nie pozwala na efektywną transformację napięcia za pomocą prostego transformatora. W przypadku DC potrzebne są skomplikowane i kosztowne przetwornice, które najpierw zamienią prąd stały na zmienny, a dopiero potem umożliwią zmianę napięcia.Droga energii od elektrowni do gniazdka
Wyobraźmy sobie drogę prądu od elektrowni do naszego gniazdka. To prawdziwa podróż, w której transformatory odgrywają kluczową rolę na każdym etapie. Energia jest wytwarzana w elektrowni, często o stosunkowo niskim napięciu. Następnie, aby zminimalizować straty podczas przesyłu na duże odległości, napięcie jest drastycznie podnoszone do bardzo wysokich wartości nawet kilkuset tysięcy woltów. Dalej, w miarę zbliżania się do miast i osiedli, napięcie jest stopniowo obniżane przez kolejne transformatory w stacjach rozdzielczych, aż do bezpiecznego poziomu 230V, który ostatecznie trafia do naszych domów.

Etapy transformacji napięcia i minimalizacja strat
- Generacja w elektrowni: Prąd jest generowany przy umiarkowanym napięciu (np. kilkanaście tysięcy woltów).
- Transformacja w górę: Bezpośrednio przy elektrowni, transformatory podnoszą napięcie do bardzo wysokich wartości (np. 110 kV, 220 kV, 400 kV), aby przygotować prąd do przesyłu na duże odległości.
- Przesył wysokim napięciem: Energia płynie przez linie wysokiego napięcia, często widoczne jako potężne słupy energetyczne.
- Transformacja w dół (stacje rozdzielcze): Na obrzeżach miast i w większych miejscowościach, kolejne transformatory obniżają napięcie do średnich wartości (np. 15 kV, 20 kV).
- Dystrybucja i transformacja końcowa: W lokalnych stacjach transformatorowych (często w małych budynkach lub na słupach), napięcie jest ostatecznie obniżane do 230V, które trafia do naszych domów i biur.
Dlaczego tak wysokie napięcie jest kluczowe? Odpowiedź leży w fizyce. Moc elektryczna (P) to iloczyn napięcia (U) i natężenia prądu (I), czyli P = U × I. Straty mocy w liniach przesyłowych (P_straty) są natomiast proporcjonalne do kwadratu natężenia prądu i rezystancji przewodu (P_straty = I² × R). Oznacza to, że jeśli przesyłamy tę samą moc (P) przy bardzo wysokim napięciu (U), natężenie prądu (I) musi być bardzo niskie. A ponieważ straty zależą od kwadratu natężenia, niskie natężenie prądu drastycznie redukuje straty energii w liniach przesyłowych. To właśnie dlatego prąd zmienny, z jego łatwością transformacji napięcia, jest tak efektywny w przesyłaniu energii na duże odległości.
AC w codziennym życiu: praktyczne konsekwencje
Dominacja prądu zmiennego w naszych gniazdkach ma szereg praktycznych konsekwencji dla naszego codziennego życia i sposobu, w jaki działają nasze urządzenia. To nie tylko kwestia efektywności przesyłu, ale także bezpieczeństwa i funkcjonalności.
Bezpieczeństwo: AC kontra DC
Zarówno prąd zmienny, jak i stały są niebezpieczne dla człowieka, zwłaszcza przy wysokich napięciach. Jednak ich wpływ na organizm nieco się różni. Prąd zmienny o częstotliwości 50/60 Hz jest uznawany za szczególnie groźny dla serca, ponieważ może wywołać migotanie komór, co jest stanem bezpośredniego zagrożenia życia. Prąd stały natomiast powoduje silny skurcz mięśni, który może sprawić, że osoba porażona nie będzie w stanie oderwać się od źródła prądu, choć w niektórych przypadkach może również "odrzucić" od źródła. Niezależnie od typu, przy napięciu 230V, które mamy w gniazdku, oba są śmiertelnie niebezpieczne i należy zachować najwyższą ostrożność.Dlaczego elektronika potrzebuje DC, skoro w gniazdku jest AC?
Paradoksalnie, większość nowoczesnej elektroniki od laptopów i smartfonów po telewizory i ładowarki do działania potrzebuje prądu stałego o niskim napięciu. Wynika to z natury półprzewodników i układów scalonych, które są podstawą tych urządzeń. Dlatego każde z nich, mimo że zasilane jest z gniazdka prądem zmiennym, posiada wbudowany lub zewnętrzny zasilacz. Zasilacz to nic innego jak mała przetwornica, która przekształca prąd zmienny z sieci na prąd stały o odpowiednim, bezpiecznym napięciu (np. 5V, 12V, 19V), niezbędnym do prawidłowego funkcjonowania urządzenia.
Silniki AC: proste i niezawodne
Jednym z kluczowych powodów sukcesu prądu zmiennego jest również łatwość budowy i niezawodność silników indukcyjnych na prąd zmienny. Silniki te są proste konstrukcyjnie, nie wymagają skomplikowanych szczotek czy komutatorów, co przekłada się na ich niskie koszty produkcji i długą żywotność. To właśnie one napędzają większość urządzeń AGD w naszych domach, takich jak pralki, lodówki, odkurzacze, a także są sercem przemysłu. Ich prostota i wytrzymałość miały ogromne znaczenie dla rewolucji przemysłowej i do dziś są nieocenione.
- Prostota budowy: Mniej ruchomych części, brak szczotek i komutatorów.
- Niskie koszty: Łatwiejsza produkcja przekłada się na niższe ceny.
- Wysoka niezawodność: Długa żywotność i minimalne wymagania konserwacyjne.
- Szerokie zastosowanie: Od urządzeń domowych po ciężki przemysł.
Przyszłość energetyki: renesans prądu stałego?
Mimo dominacji prądu zmiennego w naszych domach i większości sieci przesyłowych, prąd stały przeżywa obecnie pewien renesans, zwłaszcza w kontekście nowoczesnych technologii i systemów energetycznych. To fascynujące, jak historia zatacza koło, a obie formy prądu znajdują swoje optymalne zastosowania.
HVDC: prąd stały dla superprzylączy
Jednym z najważniejszych obszarów, gdzie prąd stały wraca do łask, są systemy przesyłowe bardzo wysokiego napięcia prądu stałego (HVDC High-Voltage Direct Current). Wykorzystuje się je do przesyłu ogromnych mocy na ekstremalnie duże odległości, zwłaszcza w przypadku kabli podmorskich lub długich połączeń lądowych. W takich scenariuszach, prąd stały eliminuje pewne rodzaje strat i problemów (np. pojemnościowych) charakterystycznych dla prądu zmiennego na tak długich liniach. Przykładem jest połączenie SwePol Link, które łączy polski i szwedzki system elektroenergetyczny, przesyłając energię kablem podmorskim na prąd stały.
Przeczytaj również: Perpetuum mobile: Dlaczego wieczny ruch jest niemożliwy?
DC w nowoczesnych technologiach
Prąd stały jest również fundamentem wielu innowacyjnych rozwiązań, które kształtują naszą przyszłość. Panele fotowoltaiczne, które zyskują na popularności, generują prąd stały. Akumulatory w samochodach elektrycznych przechowują i oddają energię również w postaci prądu stałego. Oznacza to, że choć w gniazdku mamy AC, to w wielu nowych technologiach i źródłach energii odnawialnej, prąd stały jest naturalnym i niezbędnym nośnikiem. Mimo dominacji AC, DC jest więc nie tylko przeszłością, ale i fundamentem wielu innowacyjnych rozwiązań, z którymi będziemy mieli coraz częściej do czynienia.
